型號查詢
品牌
類型
全部類型
型號
內徑
外徑
厚度

型號查詢 X

您的位置:首頁  >  產品中心  >  軸承產品  >  HZB哈爾濱哈中軸承 51105 推力球軸承

HZB哈爾濱哈中軸承 51105 推力球軸承

品牌:HZB哈爾濱哈中軸承

類型:推力球軸承

新型號:51105

舊型號:

內徑:25 mm

外徑:42 mm

厚度:11 mm

在線詢價 技術咨詢

產品尺寸與參數

軸承代號
軸承代號
51105
極限轉速 r/min
脂潤滑
4800
油潤滑
6300
重量 kg
重量 Kg
0.0589
基本尺寸 mm
d
?25
D
42
H
11
rmin
0.6
基本額定載荷 KN
Cr
18.2
Cor
28.0
其他尺寸 mm
d1
42
D1
26
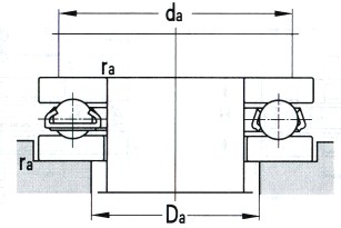
安裝相關尺寸 mm
da(min)
35
Da(max)
32
ra(max)
0.6
首頁
型號查詢
產品分類
聯(lián)系我們
客服
工作時間:

周一至周五: 9:00-17:50

周六至周日: 休息

在線客服:

客服:  525039348

聯(lián)系方式:

聯(lián)系電話: 0571-85807285

聯(lián)系手機: 18957175968

微信

微信咨詢

掃碼

歐盼微信公眾號

歐盼微信小程序

歐盼手機APP

頂部